

天津地處中國北部、海河下游、東臨渤海,是中國北方最大的港口城市,國家物流樞紐,北方國際航運核心區,首批沿海開放城市,是中蒙俄經濟走廊主要節點、海上絲綢之路的戰略支點、“一帶一路”交匯點、亞歐大陸橋最近的東部起點,位于海河五大支流南運河、子牙河、大清河、永定河、北運河的匯合處和入海口,素有“九河下梢”“河海要沖”之稱。
管道穿越重生基本墻面,多見混泥土框架柱,還要安裝套管,維護管道——當建筑物產生地基沉降時,根據管道和套管間的間隙,以禰補管道隨建筑物地基沉降的誤差,降低建筑物對管道的工作壓力。
管道穿三縫(變形縫、變形縫、防震縫)時,為確保管道不被建筑物三縫兩邊的不勻于地基沉降而斷裂、或歪曲等,一般 ,還要設套管。這類套管通常有獨特的規定?砂丛O計方案規定定制。
管道穿鐵路、橫穿馬路、走收到等處,為避免管道受載荷被壓爛,而在管道外界設定防御性套管,如:大口徑混泥土管道,大口徑鋼管等防止外力作用(載荷)立即功效在管道外內壁,導致管道損壞,而采取有效;
塑膠類管件穿越重生混凝土樓板也一樣必須維護。
柔性防水套管在工程項目中的應用愈來愈普遍,我們在具體工程項目中經常產生柔性防水套管阻塞的難題。因此大家務必保證以下內容:
1、混凝土樓板、柱內的穿梁柔性防水套管在相互配合土建工程安裝進行以后,澆筑混泥土以前應選用報刊、繡花枕頭等柔性物添充嚴實,避免砂漿進到套管和接線端子造成阻塞。
2、為避免戶外地表水或降水根據柔性防水套管進到別墅地下室,能夠保證事后安裝設備有優良的工程施工自然環境。因而,別墅地下室出墻體處柔性防水套管除選用柔性物堵漏外,在柔性防水套管預制構件生產加工時,應在套管一端端口號選用厚鋼板電焊焊接堵漏,待柔性防水套管管道安裝時再打開。
3、管道穿防潮墻體,應隨構造預埋件剛度或柔性柔性防水套管。
4、管道過墻處、穿混凝土樓板處、穿平屋面處應隨構造預埋洞,待構造工程施工結束后再開展套管鋪設,過墻預埋套管時兩邊一定要用膠帶等密封性好。
5、越I型人防混凝土樓板、人防墻體及人防擴散室處的管道及測壓管應隨構造預埋件密閉式套管。
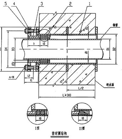
02S404柔性防水套管說明:
1、本圖尺寸均以毫米來計。
2、柔性防水套管一般穿過墻壁之處受有振動或有嚴密防水要求的構筑物。
3、套管部分加工完成后,在其外壁均刷底漆一遍(底漆包括樟丹或冷底子油)。外層防腐由設計決定。
4、套管穿墻之墻壁,如遇非混凝土墻壁時應改用混凝土墻壁,其澆注混凝土范圍應比翼環直徑( D6 )大 200mm ,而且將套管澆固與墻內。
5、穿管處之混凝土墻厚應不小于 300mm 否則應使墻壁一邊加厚或兩邊加厚。加厚部分的直徑小應比翼環直徑( D6 ) 200mm
6、套管的材料重量是按墻厚 L 值為 300mm 應另行計算。
7、套管部件材料,用 A3 材料制作, T42 。
I型柔性防水套管說明:
1、當迎水面為腐蝕性介質時,可采用封堵材料將縫隙封堵。
2、套管穿墻處如遇非混凝土墻壁時,應局部改用混凝土墻壁,其澆注范圍應比翼環直徑(D5)大200,而且將套管一次澆固于墻內。
3、穿管處混凝土墻厚應不小于300,否則應使墻壁一邊加厚或兩邊加厚,加厚部分的直徑至少為D5+200。
4、套管的重量以L=300計算,如墻厚大于300時,應另行計算。
II型柔性防水套管說明:
1、柔性填料材料:瀝青麻絲、聚苯乙烯板、聚乙烯泡沫塑料板。
2、密封膏:聚硫密封膏、聚胺脂密封膏。
3、套管穿墻處如遇非混凝土墻壁時,應局部改用混凝土墻壁,其澆注范圍應比翼環直徑(D5)大200,而且將套管一次澆固于墻內。
4、穿管處混凝土墻厚應不小于300,否則應使墻壁一邊加厚或兩邊加厚,加厚部分的直徑至少為D5+200。
5、套管的重量以L=300計算,如墻厚大于300時,應另行計算。
剛性防水套管適用于管道穿墻處不承受管道振動和伸縮變形的構(建)筑物,適用于管道穿墻處空間有限或管道安裝先于構(建)筑物或管道的更新改造。對于有地震設防要求的地區,如采用剛性防水套管,應在進入池壁或建筑物外墻的管道上就近設置柔性連接。A型適用于鋼管,B,C型適用于球墨鑄鐵鋼管及鑄鐵管。
剛性防水套管在用于與腐蝕性介質接觸時,設計人應根據介質性及防腐要求,另行選擇使用的耐腐蝕材料。金屬表面涂覆前應進行除銹,手工除銹質量應達到GB8923-88標準中的st3級,噴射除銹質量應達到Sa2 1/2 級。
剛性防水套管使用范圍:
剛性防水套管適用于管道穿墻處不承受管道振動和伸縮變形的構(建)筑物,對于設防要求的地區,如采用剛性防水套管,應在進入池壁或建筑物外墻的管道上就近設置柔性連接,A型適用于鋼管。
再次感謝廣大客戶朋友對鞏義市天翔管道設備有限公司產品的大力支持。在此,我協鞏義市天翔管道設備有限公司全體員工感謝您的光臨!如有意者,請撥打我們的熱線電話:【0371-64026667 】聯系人:【 張經理 】 手機:【 18530918277 】我們將竭誠為您服務!
鞏義市天翔管道設備有限公司自創廠以來,不斷的在技術和應用上取得新的創新和突破。天翔管道以管理、服務主動的態度在眾多合作伙伴中建立起了良好的信譽,兼容并蓄,不斷向管道應用行業深入發展。經營范圍:橡膠接頭,防水套管,補償器,膨脹節,波紋補償器,旋轉補償器,無推力補償器,套筒補償器,伸縮器,傳力接頭,伸縮接頭,無約束補償器,法蘭盤,人孔,彎頭,三通,閘閥,蝶閥,鴨嘴閥,等系列產品。
技術參數:
02S404柔性防水套管主要尺寸、重量表
| DN | D1 | D2 | D3 | D4 | D5 | I | 10 | I1 | I2 | D1 | D2 | D3 | n-M | A型重量(kg) | B型重量(kg) | |||
| I型 | Ⅱ型 | I型 | Ⅱ型 | I型 | Ⅱ型 | |||||||||||||
| 50 | 60 | 95 | 65 | 145 | 200 | 65 | 28 | - | 72 | 30 | 3.5 | 4 | 8 | 4-M12 | 14.40 | - | 14.60 | - |
| 65 | 76 | 114 | 80 | 165 | 220 | 65 | 28 | 25 | 72 | 30 | 3.75 | 4 | 8 | 4-M12 | 16.89 | 17.07 | 17.18 | 17.35 |
| 80 | 89 | 127 | 95 | 180 | 235 | 65 | 28 | 25 | 76 | 38 | 4 | 4 | 10 | 4-M16 | 21.12 | 21.31 | 21.42 | 21.61 |
| 100 | 108 | 146 | 114 | 200 | 255 | 65 | 28 | 25 | 76 | 38 | 4 | 4.5 | 10 | 4-M16 | 24.37 | 24.58 | 24.71 | 24.92 |
| 125 | 133 | 180 | 140 | 235 | 290 | 65 | 28 | 25 | 76 | 38 | 4 | 6 | 10 | 6-M16 | 31.92 | 32.31 | 32.43 | 32.82 |
| 150 | 159 | 203 | 165 | 260 | 315 | 65 | 28 | 25 | 76 | 38 | 4.5 | 6 | 10 | 6-M16 | 35.77 | 36.17 | 36.31 | 36.72 |
| 200 | 219 | 265 | 226 | 320 | 375 | 65 | 28 | 25 | 76 | 38 | 6 | 6 | 10 | 6-M16 | 44.69 | 45.29 | 45.29 | 45.87 |
| 250 | 273 | 325 | 280 | 380 | 435 | 65 | 28 | 25 | 76 | 38 | 8 | 8 | 10 | 8-M16 | 59.41 | 60.22 | 60.43 | 61.33 |
| 300 | 325 | 377 | 333 | 435 | 495 | 72 | 28 | 30 | 90 | 46 | 8 | 10 | 10 | 8-M20 | 89.37 | 90.02 | 90.35 | 91.14 |
| 350 | 377 | 426 | 385 | 485 | 545 | 72 | 32 | 30 | 90 | 46 | 10 | 10 | 10 | 8-M20 | 99.74 | 100.3 | 100.7 | 101.5 |
| 400 | 426 | 480 | 435 | 540 | 600 | 72 | 32 | 30 | 90 | 46 | 1O | 10 | 10 | 12-M20 | 114.0 | 114.8 | 115.3 | 116.4 |
| 450 | 480 | 530 | 488 | 590 | 650 | 72 | 32 | 30 | 90 | 46 | 10 | 1O | 10 | 12-M20 | 124.1 | 124.7 | - | - |
| 500 | 530 | 585 | 538 | 645 | 705 | 72 | 32 | 30 | 90 | 46 | 10 | 10 | 10 | 16-M20 | 139.3 | 140.5 | - | - |
| 600 | 630 | 690 | 640 | 755 | 820 | 75 | 32 | 30 | 104 | 54 | 10 | 10 | 12 | 16-M24 | 197.2 | 198.2 | - | - |
| 700 | 720 | 780 | 730 | 845 | 910 | 75 | 40 | 30 | 104 | 54 | 10 | 1O | 12 | 20-M24 | 222.6 | 223.7 | - | - |
| 800 | 820 | 880 | 830 | 950 | 1020 | 80 | 40 | 40 | 117 | 60 | 10 | 10 | 12 | 20-M27 | 280.0 | 282.3 | - | - |
| 900 | 920 | 980 | 930 | 1050 | 1120 | 80 | 40 | 40 | 117 | 60 | 10 | 10 | 12 | 20-M27 | 309.6 | 312.2 | - | - |
| 1000 | 1020 | 1080 | 1030 | 1150 | 1220 | 80 | 40 | 40 | 117 | 60 | 10 | 10 | 12 | 24-M27 | 341.1 | 344.0 | - | - |
注:訂貨時注明管子外徑,大于DN1400、墻厚大于或小于300mm的產品可訂制加工。
剛性防水套管(A型)尺寸表、重量表
| DN | D1 | D2 | D3 | D4 | δ | B | k |
重量 (kg) |
| 50 | 60 | 80 | 114 | 225 | 3.5 | 10 | 4 | 4.49 |
| 65 | 75.5 | 95 | 121 | 230 | 3.75 | 10 | 4 | 4.66 |
| 80 | 89 | 110 | 140 | 250 | 4 | 10 | 4 | 5.33 |
| 100 | 108 | 130 | 159 | 270 | 4.5 | 10 | 5 | 6.36 |
| 125 | 133 | 155 | 180 | 290 | 6 | 10 | 6 | 8.33 |
| 150 | 159 | 180 | 219 | 330 | 6 | 10 | 6 | 1O.06 |
| 200 | 219 | 240 | 273 | 385 | 8 | 12 | 8 | 15.9 |
| 250 | 273 | 295 | 325 | 435 | 8 | 12 | 8 | 18.68 |
| 300 | 325 | 345 | 377 | 500 | 10 | 14 | 10 | 27.40 |
| 350 | 377 | 400 | 426 | 550 | 10 | 14 | 10 | 30.95 |
| 400 | 426 | 445 | 480 | 600 | 10 | 14 | 10 | 34.35 |
| 450 | 480 | 500 | 530 | 650 | 1O | 14 | 10 | 37.85 |
| 500 | 530 | 550 | 590 | 730 | 10 | 16 | 10 | 44.54 |
| 600 | 630 | 660 | 690 | 830 | 10 | 16 | 10 | 54.50 |
| 700 | 720 | 750 | 790 | 920 | 10 | 16 | 10 | 61.43 |
| 800 | 820 | 850 | 880 | 1020 | 10 | 16 | 10 | 69.12 |
| 900 | 920 | 950 | 980 | 1120 | 10 | 16 | 10 | 76.81 |
| 1000 | 1020 | 1050 | 1080 | 1230 | 10 | 16 | 10 | 84.50 |
| 1200 | 1220 | 1250 | 1290 | 1430 | 12 | 20 | 12 | 122.5 |
| 1400 | 1420 | 1450 | 1490 | 1630 | 12 | 20 | 12 | 141.3 |
| 1600 | 1620 | 1650 | 1690 | 1830 | 14 | 20 | 14 | 176.4 |
| 1800 | 1820 | 1850 | 1900 | 2040 | 16 | 20 | 16 | 216.6 |
| 2000 | 2020 | 2050 | 2100 | 2240 | 16 | 20 | 16 | 239.3 |
當穿墻管的材質和外徑等超出本圖集范圍,應注意對防水套管的結構形式、尺寸及縫隙內采用的填料等進行必要的調整和修正。
